Каталог Т-815 – 290N9Т
Каталог Т163 – Ямал/Jamal
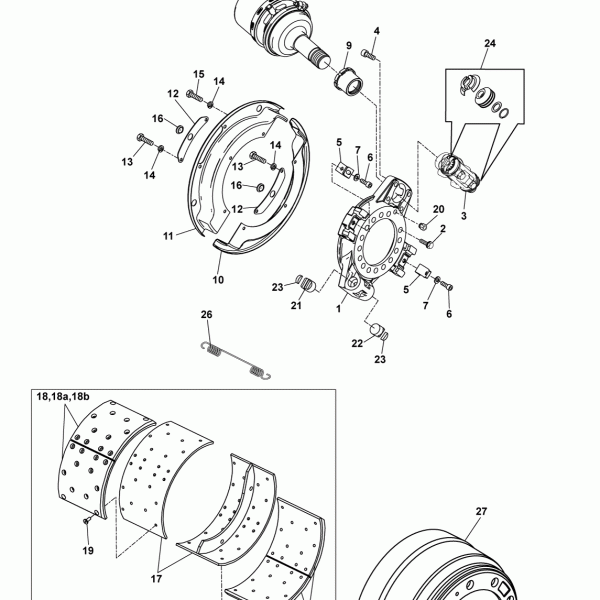
Каталог Т163 – Ямал/Jamal/Мост задний~^~21A06 Тормозной барабан,секция тормозная,колодки тормозные
Каталог запчастей Т815 E-II
Каталог запчастей Т815 E-II
Каталог запчастей Т815 E-II
Каталог запчастей Т815 E-II
Каталог запчастей Т815 E-II
Каталог запчастей Т815 E-II
Каталог запчастей Т815 E-II
Каталог запчастей Т815 E-II
Каталог запчастей Т815 E-II
Каталог запчастей Т815 E-II






