Отображение 61–72 из 242

Каталог запчастей Т815 E-II

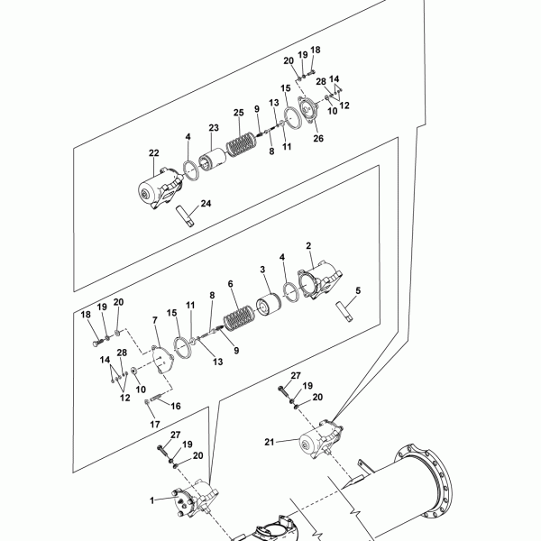
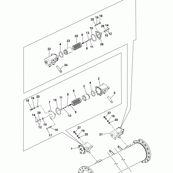
20B02 Цилиндр управления

Каталог запчастей Т815 E-II

20C02 Цилиндр управления

Каталог запчастей Т815 E-II

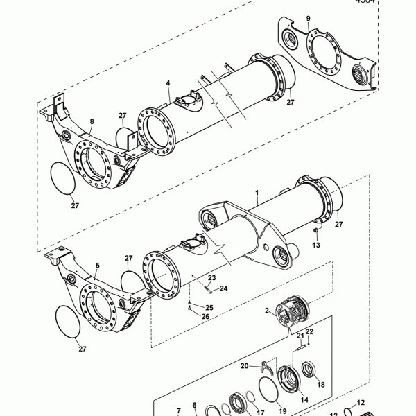
19A02 Приводные цилиндры

Каталог запчастей Т815 E-II

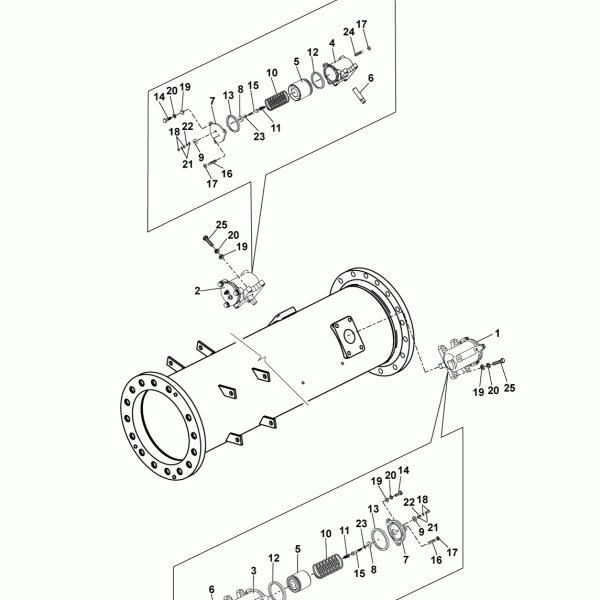
19B02 Приводные цилиндры

Каталог запчастей Т815 E-II

11A01 Отбор мощности в сборе

Каталог запчастей Т815 E-II

61A01 Панель приборов оборудованный

Каталог запчастей Т815 E-II

14B07 Ступица колеса